7,605,943

Production of a color conversion profile utilizing comparison of spectral reflectance data and comparative colors

Patent Number

7,605,943

Issue Date

Inventor(s)

Yoshifumi Arai; Roy S. Berns; Lawrence Taplin; Michinao Osawa

Document

Download PDF for patent 7,605,943

Synopsis

Patent US 7,605,943 B2 describes a method and apparatus for generating a color conversion profile for use in color inkjet or laser printers. The invention addresses the challenge of achieving good color reproduction under various viewing conditions and faithfully reproducing the color appearance of an original. This is achieved by introducing a novel approach to selecting ink amount data for profile creation.

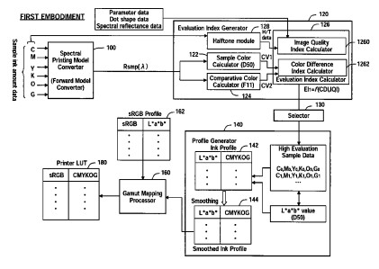
The invention's core innovation lies in its indirect energy conversion approach. It utilizes a spectral printing model converter to convert ink amount data to spectral reflectance. From this spectral reflectance, colorimetric values are calculated under two different viewing conditions (e.g., D50 and F11 illuminants). An evaluation index, which includes a color difference between these two colorimetric values, is then calculated. Sample ink amount data with the best evaluation index is selected as a representative sample, and profiles are created from a plurality of these selected representative samples.

The commercial potential for this technology is substantial due to its ability to produce color profiles that achieve good color reproduction under various viewing conditions or faithfully reproduce the color appearance of an original. This is particularly valuable in industries where color accuracy and consistency are critical.

Possible applications include:

  • Professional Printing and Publishing: Ensuring consistent color across different print runs and viewing environments for magazines, books, and marketing materials. This eliminates the need for manual color adjustments for various lighting conditions.

  • Photography and Digital Art: Providing accurate color reproduction for prints, allowing artists and photographers to achieve their desired visual intent regardless of where the artwork is displayed. This enhances the perceived quality of the output.

  • Brand Management: Maintaining precise brand colors across all printed collateral, ensuring brand consistency and recognition under diverse display conditions. This is crucial for corporate identity and marketing.

  • Textile and Fashion Design: Enabling accurate color matching between digital designs and physical fabrics, reducing discrepancies in production and ensuring consumer satisfaction.

  • Product Manufacturing and Quality Control: Ensuring consistent color of manufactured goods, such as automotive parts or consumer electronics, across different batches and when viewed under various lighting.

This advanced color conversion technology offers a compelling solution for enhanced color accuracy and consistency in various applications, presenting a valuable licensing opportunity for companies focused on high-quality color reproduction.