7,652,789

Production of color conversion profile for printing

Patent Number

7,652,789

Issue Date

Inventor(s)

Yoshifumi Arai; Roy S. Berns; Lawrence Taplin; Kimoto Katsuyama; Takashi Ito

Document

Download PDF for patent 7,652,789

Synopsis

Patent US 7,652,789 B2 describes a method for producing a color conversion profile for printing that significantly enhances the accuracy and consistency of printed color. This invention addresses a critical challenge in the printing industry: ensuring that printed colors accurately match desired color specifications, especially when using multiple inks or across different printing conditions. Traditional color management often struggles with the complexities of predicting how various ink combinations will reproduce color on different substrates.

The core innovation lies in a sophisticated evaluation system that iteratively refines an ink profile based on objective quality metrics, moving beyond simple color differences. This method involves:

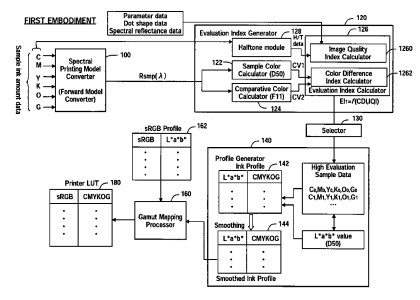
  • Spectral Printing Model: The system utilizes a spectral printing model to predict the spectral reflectance of printed colors based on ink amounts. This provides a fundamental basis for accurate color prediction.

  • Evaluation Index Generation: A key novel aspect is the generation of an "evaluation index" which quantifies the quality of a printed sample. This index is not solely based on color difference (e.g., ΔEab*), but also incorporates an "image quality index". This image quality index accounts for factors such as dot shape data and halftone characteristics, providing a more comprehensive assessment of print quality.

     

  • Iterative Refinement: The method iteratively adjusts ink amounts to minimize the evaluation index, thereby optimizing the printed color to match the desired color while also considering image quality. This adaptive process ensures that the resulting color conversion profile is robust and delivers superior print results.

  • Gamut Mapping: The system includes a gamut mapping processor that transforms colors from a source color space (e.g., sRGB) to the printer's color gamut, ensuring that out-of-gamut colors are handled gracefully and effectively.

  • Smoothing and Profile Generation: The process includes smoothing of the ink profile data, leading to a more consistent and artifact-free color conversion profile.

This patented technology offers substantial commercial potential across various segments of the printing and imaging industry:

  • Commercial Printing: Licensees can implement this method to produce highly accurate color separations and profiles for commercial presses (e.g., offset, digital, flexographic). This ensures brand color consistency across different print jobs and materials, reduces waste from color inaccuracies, and enhances client satisfaction.

  • Inkjet and Photographic Printing: The invention is highly applicable to inkjet printers, allowing for the creation of precise color profiles for various paper types and ink sets. This enables professional photographers, fine art printers, and home users to achieve superior print quality with accurate color reproduction.

  • Packaging and Product Design: For industries where product appearance and branding are critical, such as packaging and consumer goods, this technology ensures that product colors are consistently reproduced on packaging materials, strengthening brand identity.

  • Textile and Fashion Printing: In digital textile printing, accurate color reproduction is crucial. This method can optimize color profiles for fabric printing, ensuring consistent color matching across different textiles and design iterations.

  • Color Management Software and Hardware: Developers of color management software, RIPs (Raster Image Processors), and calibration devices can integrate this technology to provide advanced color profiling solutions to their customers, enhancing their product offerings.

By providing a sophisticated, objective, and adaptive method for creating color conversion profiles that consider both color accuracy and image quality, this invention offers a compelling opportunity for licensees to deliver unparalleled color consistency and print quality, securing a competitive advantage in a demanding market.