8,219,357

Dynamic Display Systems and Methods Thereof

Patent Number

8,219,357

Issue Date

Inventor(s)

Christopher Piggott; Edward McCarthy; Michael Thurston; Sean McConky

Document

Download PDF for patent 8,219,357

Synopsis

Patent 8,219,357 B2 describes innovative dynamic display systems and methods designed to enhance asset health management through intelligent and adaptive information presentation. This invention provides a critical solution to the challenge of effectively communicating complex operational statuses from multiple assets to users, preventing information overload and focusing attention on critical issues.

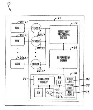
A core novel aspect of this invention is its intelligent selection and prioritization of status indicators. Unlike conventional monitoring systems that might overwhelm users with a deluge of data, this technology dynamically determines the most relevant type of status information to display for one or more assets. This selection is based on predefined rules and the real-time status of the assets. For instance, the system can choose between simple color-coded lights (e.g., green for normal, red for critical), detailed textual information, or a combination thereof. It can also prioritize certain alerts over others and even suppress less critical information or indicator lights when an asset is functioning optimally, thus minimizing cognitive load on the operator. This adaptive display capability extends to providing status for the monitoring system itself, ensuring its reliability. By tailoring the presentation of information to the current context and severity of the status, the system significantly improves situational awareness and facilitates quicker, more effective responses to operational issues.

The commercial potential for this dynamic display technology is substantial, offering significant advantages in any domain where efficient and intuitive communication of complex system states is vital for operational excellence and safety. Possible applications include:

  • Industrial and Manufacturing Operations: Critical for monitoring complex machinery, production lines, and critical infrastructure in factories, power plants, and processing facilities. Operators can quickly grasp the health status of numerous assets, enabling predictive maintenance, minimizing unplanned downtime, and improving overall safety and productivity.

  • Automotive and Transportation Systems: Applicable in vehicle fleet management, railway control centers, and even within vehicle dashboards. The system can dynamically display vital system health information (e.g., engine, brakes, battery) to drivers or fleet managers, prioritizing alerts based on severity and urgency, enhancing operational safety and reliability.

  • Smart Buildings and Facilities Management: Ideal for monitoring and managing integrated building systems such as HVAC, security, fire alarms, and elevators. Facilities managers can receive concise, prioritized alerts on system malfunctions, enabling swift responses, optimizing maintenance schedules, and improving energy efficiency.

  • Healthcare and Medical Equipment Management: In hospitals and clinics, this technology can be used for monitoring patient vital signs or the operational status of medical devices. Nurses and doctors can receive clear, prioritized alerts, reducing information overload and allowing for faster, more informed responses to critical patient or equipment conditions.

  • Military and Aerospace: In mission-critical environments like aircraft cockpits, ground control centers, and military vehicles, where rapid, unambiguous understanding of operational status is paramount. The system can provide real-time, prioritized health assessments for complex systems, enhancing mission success and personnel safety.

  • Data Center Operations: For monitoring server racks, cooling infrastructure, and power distribution units. Operators can quickly identify and address issues that could lead to system outages, ensuring continuous operation and data integrity.

This patent offers a sophisticated and adaptable solution for human-system interaction, providing a compelling opportunity for licensees to enhance the efficiency, safety, and user experience of their asset management and monitoring systems.