8,283,891

Power source health assessment methods and systems thereof

Patent Number

8,283,891

Issue Date

Inventor(s)

Omar Anbari

Document

Download PDF for patent 8,283,891

Synopsis

Patent 8,283,891 B2 describes an innovative power source health assessment method and system that revolutionizes the way the condition and remaining lifespan of power sources, such as batteries, and their associated loads are determined. This invention offers a precise, rapid, and non-invasive diagnostic capability, addressing the critical need for proactive maintenance and enhanced reliability in various applications.

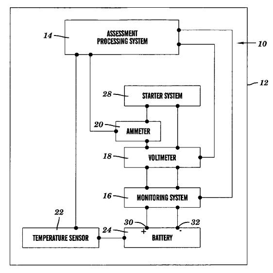
A core novel aspect of this invention is its sophisticated method for precisely determining the internal resistance of a power source. This is achieved by applying a transient current to the power source and then meticulously measuring the resulting voltage transient. This process is remarkably fast, capable of delivering an assessment within 400 milliseconds, making it suitable for real-time diagnostics. The health of the power source is then assessed by comparing this determined internal resistance against a stored baseline value. Uniquely, the system can also extend its diagnostic capabilities to the device used as the load (e.g., a starter system), by monitoring changes in its intrinsic resistance during the transient event. Further enhancing its accuracy, the system can integrate ambient temperature measurements and compare them against stored temperature efficiency data for the power source, refining the overall health assessment. Crucially, this invention can also provide a future prediction of when the power source is likely to fail, leveraging the determined internal resistance in conjunction with stored life-cycle data for that specific power source.

The commercial potential for this advanced power source health assessment technology is substantial across numerous industries where reliable power delivery and predictive maintenance are paramount. Possible applications include:

  • Automotive Industry: This technology is invaluable for diagnosing the health of vehicle batteries, including 12V starter batteries and the high-voltage battery packs in electric and hybrid vehicles. It can provide early warnings of battery degradation, preventing roadside breakdowns, optimizing battery replacement cycles, and significantly improving overall vehicle reliability and safety. It can also diagnose the health of crucial loads like starter motors.

  • Renewable Energy Storage Systems: For monitoring the integrity of battery banks in solar photovoltaic installations, wind energy storage systems, and grid-scale energy storage. This ensures reliable power availability, maximizes system uptime, and prolongs the lifespan of expensive battery assets.

  • Industrial Equipment and Robotics: For battery-powered industrial vehicles (e.g., forklifts, automated guided vehicles), backup power systems for critical machinery, and robotics. It enables predictive maintenance of power sources, minimizing unexpected downtime and optimizing operational costs in demanding industrial environments.

  • Marine and Aerospace: In marine vessels and aircraft, where reliable power systems are essential for safety and mission-critical operations. This technology can provide continuous health monitoring of onboard batteries, reducing risks associated with power failures.

  • Data Centers and Telecommunications: For managing uninterruptible power supplies (UPS) and backup battery systems that safeguard critical servers and communication infrastructure, ensuring continuous operation during power outages.

  • Battery Manufacturing and Quality Control: Manufacturers can integrate this rapid and non-invasive assessment into their production lines for real-time quality control and efficient characterization of battery performance, accelerating development cycles for new battery chemistries and designs.

This patent offers a sophisticated and practical solution for managing the health of power sources, providing timely insights that can prevent failures, reduce operational costs, and enhance the reliability of countless battery-dependent systems.