8,285,514

Sensor fault detection systems and methods thereof

Patent Number

8,285,514

Issue Date

Inventor(s)

Omar Anbari; Michael Thurston

Document

Download PDF for patent 8,285,514

Synopsis

Patent 8,285,514 B2 describes sophisticated sensor fault detection systems and methods that offer a robust and adaptive approach to ensuring the reliability of data from multiple sensor systems. This invention addresses the critical challenge of accurately and efficiently identifying various types of sensor malfunctions, which is essential for maintaining operational integrity and preventing costly failures in complex systems.

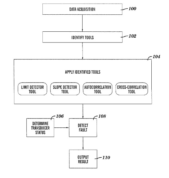
A key novel aspect of this invention is its intelligent and adaptive methodology for fault detection. Unlike static or rudimentary fault detection systems, this technology automatically identifies and applies one or more analytical tools (such as cross-correlation, limit detection, slope calculation, and autocorrelation) based on the specific characteristics of the data being acquired and the nature of the data acquisition systems themselves. By dynamically selecting the most appropriate analytical tools, the system can effectively detect subtle and complex sensor faults, including gradual sensor drift, intermittent signal loss, and sudden complete failures. The core innovation involves utilizing these chosen tools to determine a "confidence rating" for the sensor data, which is derived from the relationships and characteristics observed across multiple data acquisition systems. Based on this confidence rating, the system then determines and provides a clear operational status for the sensor, indicating whether it is functioning within specified limits, experiencing drift, an intermittent fault, or has completely failed.

The commercial potential for this advanced sensor fault detection technology is substantial across virtually any industry that relies on accurate sensor data for operational control, safety, or diagnostics. Possible applications include:

  • Asset Health Management and Predictive Maintenance: In industrial manufacturing, power generation, oil and gas, and aerospace, this system is invaluable for monitoring the health of critical machinery and equipment. By reliably detecting sensor faults, it enables proactive maintenance, preventing unexpected breakdowns, reducing downtime, and optimizing operational efficiency.

  • Automotive and Transportation: For modern vehicles, including autonomous systems, where a multitude of sensors (e.g., for engine performance, safety systems, environmental conditions) provide critical input. This technology ensures the integrity of these inputs, enhancing vehicle safety and reliability.

  • Smart Infrastructure and Utilities: For monitoring large-scale infrastructure like bridges, pipelines, smart grids, and water treatment facilities. Accurate sensor data is crucial for assessing structural integrity, detecting leaks, managing energy distribution, and ensuring public safety, making reliable fault detection paramount.

  • Environmental Monitoring: In systems that measure air quality, water quality, or meteorological conditions, where precise and trustworthy sensor readings are vital for regulatory compliance, environmental protection, and public health advisories.

  • Medical Devices and Healthcare: For diagnostic equipment, patient monitoring systems, and laboratory instruments where the accuracy of sensor data directly impacts patient care and treatment efficacy. Reliable fault detection ensures the integrity of medical readings and alerts clinicians to potential issues.

  • Process Control and Automation: In chemical processing, pharmaceuticals, food and beverage, and other continuous manufacturing operations, where sensors provide critical feedback for controlling processes. This technology prevents production errors, ensures product quality, and enhances overall operational safety.

This patent offers a sophisticated and adaptive solution for ensuring sensor data integrity, providing a crucial layer of reliability for complex systems and presenting a compelling opportunity for licensees to enhance the performance and safety of their products and services.