8,527,374

Method and Apparatus for Data Acquisition in an Asset Health Management System

Patent Number

8,527,374

Issue Date

Inventor(s)

Michael G. Thurston; Christopher E. Piggott

Document

Download PDF for patent 8,527,374

Synopsis

Patent 8,527,374 B2 describes an innovative method and apparatus for data acquisition within an asset health management system, providing a robust and cost-effective solution to the complexities of monitoring diverse industrial assets.

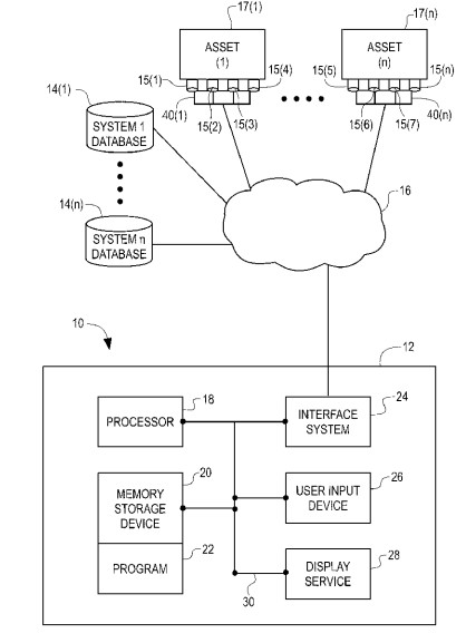
A key novel aspect of this invention is its ability to efficiently acquire data from multiple sensor types with varying signal characteristics using a streamlined hardware architecture. Traditional asset health management systems often necessitate dedicated data acquisition modules for different sensor voltage ranges, leading to increased complexity, cost, and physical footprint. This patent introduces a system that receives a plurality of analog signals from various sensor systems and passively conditions these signals using at least two techniques from input scaling, filtering, and voltage clamping. Following this passive conditioning, the signals are converted by a high dynamic range analog-to-digital converter (ADC). Crucially, this ADC operates over a single input range, capable of handling a broad spectrum (e.g., at least ±40V) with high precision (greater than 1 mV). This unified approach eliminates the need for multiple, specialized data acquisition modules, simplifying the overall system design and reducing hardware requirements.

The invention's capacity to accommodate diverse sensor inputs through a single, high-performance data acquisition path significantly enhances system reliability and reduces the total cost of ownership. By simplifying the data acquisition frontend, it minimizes points of failure and streamlines installation and maintenance. This results in a more efficient and adaptable solution for continuous monitoring of critical assets.

The commercial potential of this invention is substantial across numerous industries that rely on precise and comprehensive asset monitoring. Possible applications include:

  • Industrial Automation and Manufacturing: For monitoring the health and performance of machinery, robots, and production lines where various sensors (e.g., temperature, vibration, pressure, current) are employed. This system would simplify integration and enhance diagnostic capabilities, preventing costly downtime.

  • Energy Sector (Oil & Gas, Power Generation): Managing the integrity and operational status of complex assets such as pipelines, turbines, generators, and drilling equipment. The ability to handle diverse sensor data efficiently in harsh environments offers significant operational advantages and safety improvements.

  • Transportation Infrastructure: Monitoring bridges, railways, and tunnels for structural integrity, environmental conditions, and operational stresses. The system's robustness and ability to acquire data from a wide range of sensors make it ideal for distributed monitoring applications.

  • Aerospace and Defense: For condition-based maintenance and real-time diagnostics of aircraft, ground vehicles, and complex systems where varied sensor data must be accurately captured and analyzed.

  • Smart Buildings and Facilities Management: Optimizing the performance and predictive maintenance of HVAC systems, elevators, and other critical building infrastructure by integrating data from various environmental and operational sensors.

This patent offers a transformative data acquisition solution for asset health management, enabling greater efficiency, reliability, and scalability for organizations seeking to optimize the performance and longevity of their critical assets.