8,983,251

Electro-optical Waveguide Apparatuses And Methods Thereof

Patent Number

8,983,251

Issue Date

Inventor(s)

Zhaoulin Lu; Wangshi Zhao

Document

Download PDF for patent 8,983,251

Synopsis

Patent US 8,983,251 B2 describes electro-optical waveguide apparatuses and methods thereof. This invention introduces a novel design for waveguides that can actively control the propagation of light through electrical manipulation, offering significant advancements for high-speed optical communications, sensing, and integrated photonics.

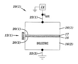
A key novel aspect of this invention is the integration of electrical control directly into the waveguide structure to dynamically modify its optical properties. Unlike passive waveguides, which have fixed light-guiding characteristics, this apparatus incorporates active elements, such as doped regions or plasmonic materials, whose optical properties (e.g., refractive index, absorption) can be altered by applying an electrical potential. The patent details how this electrical control enables the creation of highly efficient optical modulators, switches, and tunable filters. The active tuning capability allows for precise manipulation of light signals, including their intensity, phase, or polarization, at very high speeds, addressing a critical need for advanced optical systems.

The commercial potential for this electro-optical waveguide technology is substantial across various sectors of the photonics and electronics industries:

  • High-Speed Optical Communications: This technology is highly valuable for data centers, fiber optic networks, and telecommunications infrastructure. The ability to rapidly modulate, switch, and route optical signals with high efficiency can lead to faster data transmission rates, reduced power consumption, and more compact communication components, meeting the increasing demand for bandwidth.

  • Integrated Photonics: The invention enables the creation of highly integrated photonic circuits where multiple optical components can be fabricated on a single chip. This leads to smaller, more efficient, and cost-effective optical systems for a wide range of applications, from optical computing to advanced sensing.

  • Optical Sensors: Electro-optical waveguides can be used to develop highly sensitive and fast optical sensors for various parameters, such as chemical concentrations, biological markers, or environmental changes. The active tunability can enhance sensor performance and specificity.

  • Lidar and Imaging Systems: In applications like autonomous vehicles (Lidar) or advanced medical imaging, precise control over light beams is essential. This technology could enable faster beam steering, dynamic focusing, and more efficient light modulation, improving the performance and capabilities of these systems.

  • Quantum Computing and Photonics: For emerging fields like quantum computing and quantum communication, the ability to precisely manipulate single photons or entangled states using electro-optical control is crucial. This invention could provide fundamental building blocks for future quantum technologies.

  • Consumer Electronics: As optical technologies become more prevalent in consumer devices (e.g., advanced displays, augmented reality headsets), compact and efficient electro-optical components will be in high demand. This waveguide technology could contribute to more sophisticated and power-efficient optical modules in such devices.

This invention provides a transformative approach to designing and controlling optical waveguides, enabling dynamic manipulation of light signals. Its versatility and high-speed capabilities position it as a foundational technology for next-generation optical communication networks, integrated photonic devices, and advanced sensing systems.