11,143,466

HEAT TRANSFER SYSTEM AND METHOD INCORPORATING TAPERED FLOW FIELD

Patent Number

11,143,466

Issue Date

Inventor(s)

Licensed/Under Negotiation

No

Document

Download PDF for patent 11,143,466

Synopsis

Patent US 11,143,466 B2 describes a heat transfer system and method incorporating a tapered flow field, specifically designed to enhance boiling and condensation heat transfer. The invention focuses on improving the efficiency of heat exchangers by optimizing the flow of fluids within microchannels, a critical need for compact and high-performance thermal management solutions across various applications.
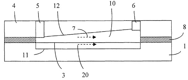
A key novel aspect of this patent is the design of a tapered flow field within microchannels. This involves creating a channel where the cross-sectional area changes along the flow path, specifically, a convergent section for boiling and a divergent section for condensation. For boiling, the tapered channel causes an increase in flow velocity as the fluid moves through the converging section, which helps to sweep away vapor bubbles from the heated surface more effectively. This action prevents the formation of insulating vapor films that can hinder heat transfer. Conversely, for condensation, a divergent section slows down the vapor, allowing for more efficient droplet formation and removal, thereby enhancing condensation rates. The patent highlights both a single tapered channel design and a dual tapered channel configuration, providing flexibility for different heat transfer scenarios. This precise control over fluid dynamics within microchannels, driven by the tapered geometry, leads to significantly improved heat transfer coefficients compared to uniform channels.
The commercial potential of this invention is substantial in any industry that relies on efficient heat exchange, particularly where space is limited, or high heat fluxes are present. The ability to enhance boiling and condensation in compact designs can lead to more energy-efficient and smaller systems.

Possible applications include:
Electronics Cooling: With the increasing power density of electronic devices (CPUs, GPUs, data center servers), effective heat dissipation is crucial. This technology could be integrated into liquid cooling systems for high-performance computing, allowing for more compact and efficient removal of heat.
Renewable Energy Systems: In concentrated solar power (CSP) systems, geothermal energy, and waste heat recovery, efficient heat exchangers are vital. This tapered flow field design could improve the performance of evaporators and condensers, enhancing overall system efficiency.
HVAC and Refrigeration: The improved heat transfer capabilities can lead to more compact and energy-efficient evaporators and condensers in heating, ventilation, air conditioning, and refrigeration systems, reducing energy consumption and material costs.
Automotive Industry: For electric vehicles and hybrid cars, efficient thermal management of batteries and power electronics is critical for performance and longevity. This technology could enable more compact and effective cooling solutions.
Aerospace: In spacecraft and aircraft, where weight and volume are at a premium, highly efficient and compact heat exchangers are essential for thermal control of critical systems.
Chemical and Process Industries: Many industrial processes involve boiling, evaporation, or condensation. The enhanced heat transfer rates could lead to more efficient reactors, reboilers, and condensers, reducing operational costs and increasing productivity.

This patent offers a fundamental advancement in microchannel heat exchanger design, providing a pathway to more efficient, compact, and high-performance thermal management solutions across a broad spectrum of industrial and technological applications.